.brator-banner-area.design-four .brator-banner-content h2 { display: none; }
Pieces Auto
CATALOGUE
Echappement
Moteur
Suspension de roue
Amortissement
Embrayage
Système électrique
Direction
Climatisation
Réservoir Adbelu
Réservoir Additif FAP
Système d'allumage
Capteurs
CATALYSEUR & FAP
Catalyseur avec kit montage:
89.90€
150.80€
ACHETER
Boutique
A Propos
Contact
Blog
FAQ
0
Panier
( 0 Articles )
Aucun produit dans le panier
S'enregistrer
Shop By Category
Amortissement
Capteurs
Climatisation
Direction
DROX AUTO
Echappement
Embrayage
Moteur
Réservoir Adbelu
Réservoir Additif FAP
Suspension de roue
Système d'allumage
Système électrique
Récemment consultés
F
×
❮
❯
+
−
CITROËN
▼
ALFA ROMEO
AUDI
BMW
CHEVROLET
CITROËN
DACIA
DS
FIAT
FORD
HYUNDAI
IVECO
JAGUAR
KIA
LANCIA
LEXUS
MAZDA
MERCEDES-BENZ
MINI
MITSUBISHI
NISSAN
OPEL
PEUGEOT
RENAULT
ROVER
SEAT
SKODA
SUZUKI
TOYOTA
VOLVO
VW
ABARTH
CHERY
CHRYSLER
DAEWOO
DAF
DAIHATSU
DODGE
FERRARI
GMC
HONDA
INFINITI
ISUZU
JEEP
LADA
LAND ROVER
MG
NAZA
PORSCHE
RENAULT TRUCKS
SAAB
SMART
SSANGYONG
SUBARU
TESLA
VAUXHALL
C1
▼
Année
▼
1.0
▼
1.0 Hatchback, 2005-2014, Essence
1.0
L (CFA (384F), CFB (1KR)),
50
Kv/
68
Hp, WD avant
Mon garage
Ajouter au garage
Mon garage
Vide
Mon garage
Ajouter au garage
Mon garage
Vide
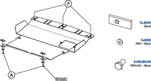
Protection moteur CITROËN C1, 1.0 / 2005-2014, CFA (384F), CFB (1KR), VehicleC1s
CITROËN
C1
1.0 ()
Moteur
Protection moteur
Moteur
Commande à courroie
Kit de distribution
Jeu, courroies trapèzoïdales
Jeu, courroies trapézoïdales à nervures
Poulie
Cylindre et piston
Protection moteur
Circuit électrique du moteur
Pression d'huile
Température du liquide de refroidissement
Sonde lambda
Débit d'air (masse)
Capteur de pouls de vilebrequin
Culasse
Impulsion d'allumage
Capteur de frappe
Entraînement d'embrayage
Unité de contrôle (ECU)
Distribution moteur
Courroie crantée, tension, guidage
Chaîne de distribution, tension, guidage
Poulie
Arbre à cames
Roues dentées
Soupape, réglage de soupape
Carter de distribution, joint
Pignon droit
Poussoir, tige, tuyau de protection
Alimentation en air
Filtre à air, carter
Câble d'accélérateur, tringlerie
Papillon des gaz, palpeur
Suralimentation
Collecteur d'admission, Tuyau
Suspension du moteur
Suspension du moteur
Fixation moteur
Culasse, pieces de montage
Joint de culasse
Cache-soupape
Guide de soupape, joint, réglage
Joint de collecteur d'admission, des gaz d'échappement
Joints toriques
Couvercle de remplissage d'huile, joint
Vis de culasse
Equipage mobile
Kit, bague d'étanchéité d'arbre radial
Bielle
Piston
Vilebrequin
Arbre intermédiaire, arbre à contrepoids d'équilibrage
Carter de vilebrequin
Carter de vilebrequin
Arbre intermédiaire, arbre à contrepoids d'équilibrage
Ventilation
Épuration des gaz d'échappement
Régulation lambda
Recyclage des gaz d'échappement
Tuning
Moteur complet, Partie du moteur
Moteur complet
Outils
Des produits:
1
Les filtres
ASAM 63048
Protection moteur / anti-encastrement
Non en stock
Demander le prix
[data limited]
top